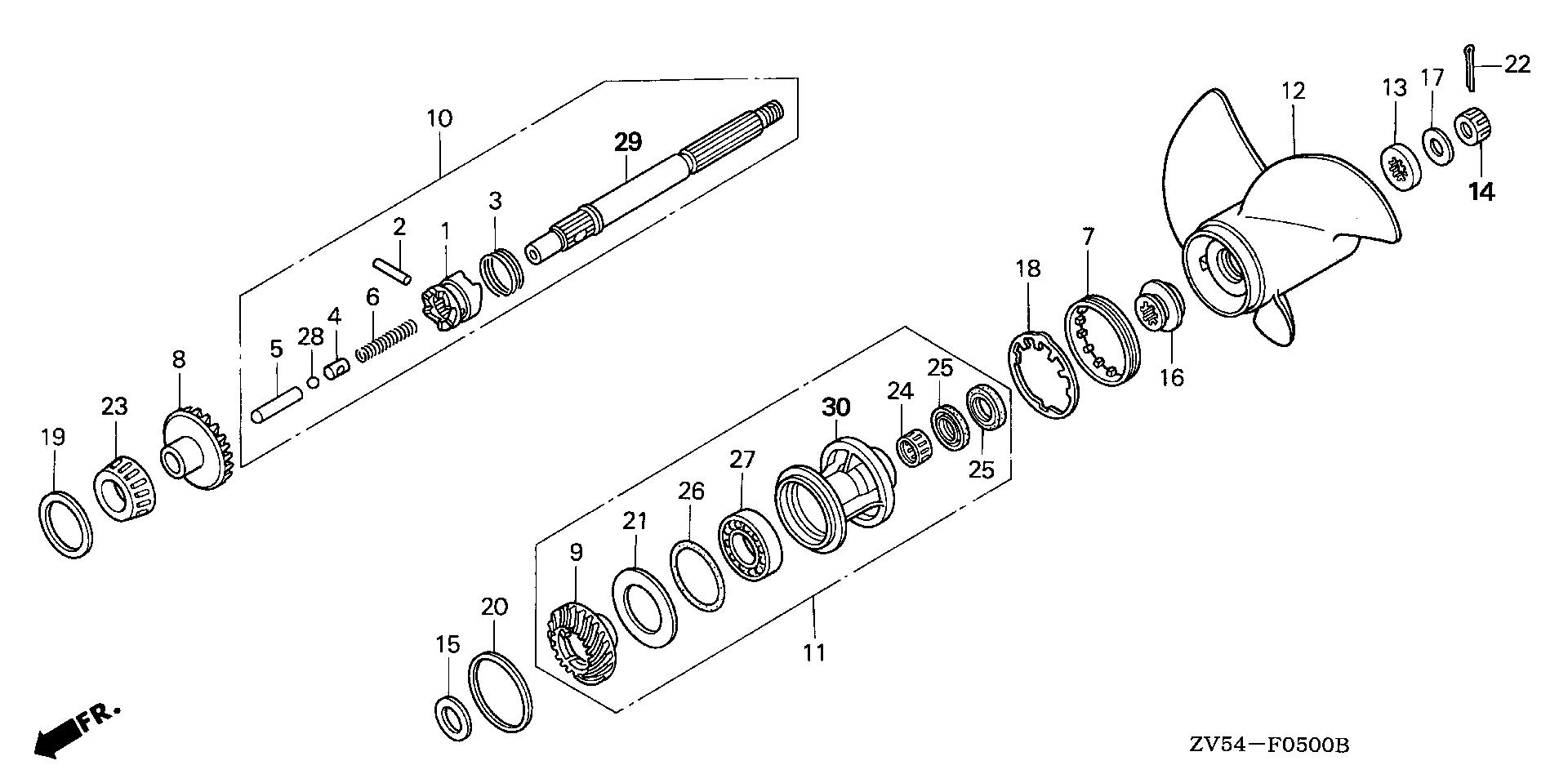
Mid - Large Outboard Engines (25 - 250hp) BF BF50 BF50AW LHTA BAZL-2000001-3000000 PROPELLER - St. Lucie Outboard Marine

Ref No
Part Number
Description
Serial Range
Qty
Price

Ref No
1
Part Number
24101-ZV5-000
Description
SHIFTER, CLUTCH
Serial Range
1000001 - 9999999

Ref No
2
Part Number
24102-ZV5-000
Description
PIN, SHIFTER (6.3X33)
Serial Range
1000001 - 9999999
Qty
Price
$4.20

Ref No
3
Part Number
24103-ZV5-000
Description
RING, CROSS PIN
Serial Range
1000001 - 9999999
Qty
Price
$2.44

Ref No
4
Part Number
24106-ZV5-000
Description
HOLDER, SHIFTER PIN
Serial Range
1000001 - 9999999
Qty
Price
$11.32

Ref No
5
Part Number
24122-ZV5-000
Description
SLIDER, SHIFT
Serial Range
1000001 - 9999999
Qty
Price
$15.00

Ref No
6
Part Number
24123-ZV5-003
Description
SPRING, SHIFT
Serial Range
1000001 - 9999999
Qty
Price
$5.98

Ref No
7
Part Number
41109-ZV5-000
Description
NUT, GEAR CASE END
Serial Range
1000001 - 9999999
Qty
Price
$22.68

Ref No
8
Part Number
41145-ZV5-000
Description
GEAR, FR. BEVEL
Serial Range
1000001 - 9999999

Ref No
9
Part Number
41151-ZV5-010
Description
GEAR, RR. BEVEL
Serial Range
1000001 - 9999999
Qty
Price
$216.66

Ref No
10
Part Number
06410-ZW4-305
Description
SHAFT ASSY., PROPELLER
Serial Range
1000001 - 9999999

Ref No
11
Part Number
41200-ZV5-030
Description
HOLDER ASSY., PROPELLER SHAFT
Serial Range
1000001 - 9999999
Qty
Price
$278.50

Ref No
12
Part Number
58130-ZV5-000ZA
Description
PROPELLER, THREE-BLADE (11-1/4X13) *NH283* (STIN GRAY)
Serial Range
1000001 - 9999999
Qty
Price
$165.79

Ref No
12
Part Number
58130-ZV5-850ZA
Description
PROPELLER, THREE-BLADE (11-1/2X12) *NH283* (STIN GRAY)
Serial Range
1000001 - 9999999
Qty
Price
$203.00

Ref No
12
Part Number
58130-ZV5-860ZA
Description
PROPELLER, THREE-BLADE (11-3/4X10) *NH283* (STIN GRAY)
Serial Range
1000001 - 9999999
Qty
Price
$203.00

Ref No
12
Part Number
58130-ZV5-870ZA
Description
PROPELLER, THREE-BLADE (11-1/2X14-1/4) *NH283* (STIN GRAY)
Serial Range
1000001 - 9999999
Qty
Price
$203.00

Ref No
13
Part Number
58151-ZV5-000
Description
SPACER (10MM)
Serial Range
1000001 - 9999999
Qty
Price
$37.24

Ref No
14
Part Number
90301-ZV5-000
Description
NUT, CASTLE (16MM)
Serial Range
1000001 - 9999999
Qty
Price
$17.02

Ref No
15
Part Number
90503-ZV5-000
Description
WASHER (22MM)
Serial Range
1000001 - 9999999
Qty
Price
$8.24

Ref No
16
Part Number
90506-ZV5-000
Description
WASHER, PROPELLER THRUST
Serial Range
1000001 - 9999999

Ref No
16
Part Number
90506-ZV5-020
Description
WASHER, PROPELLER THRUST
Serial Range
1000001 - 9999999

Ref No
16
Part Number
90506-ZZ5-C00
Description
WASHER, PROPELLER THRUST
Serial Range
1000001 - 9999999
Qty
Price
$58.34

Ref No
17
Part Number
90508-ZV5-000
Description
WASHER (17MM)
Serial Range
1000001 - 9999999
Qty
Price
$6.24

Ref No
18
Part Number
90509-ZV5-000
Description
WASHER, CLAW
Serial Range
1000001 - 9999999
Qty
Price
$11.06

Ref No
19
Part Number
90528-ZV5-000
Description
SHIM, FR. BEVEL (51X57X0.10) (A)
Serial Range
1000001 - 9999999
Qty
Price
$10.80

Ref No
19
Part Number
90529-ZV5-000
Description
SHIM, FR. BEVEL (51X57X0.15) (B)
Serial Range
1000001 - 9999999
Qty
Price
$10.80

Ref No
19
Part Number
90530-ZV5-000
Description
SHIM, FR. BEVEL (51X57X0.30) (C)
Serial Range
1000001 - 9999999
Qty
Price
$10.80

Ref No
19
Part Number
90531-ZV5-000
Description
SHIM, FR. BEVEL (51X57X0.50) (D)
Serial Range
1000001 - 9999999
Qty
Price
$10.80

Ref No
20
Part Number
90538-ZV5-000
Description
SHIM, RR. BEVEL (73X77X0.10) (A)
Serial Range
1000001 - 9999999
Qty
Price
$12.24

Ref No
20
Part Number
90539-ZV5-000
Description
SHIM, RR. BEVEL (73X77X0.15) (B)
Serial Range
1000001 - 9999999
Qty
Price
$12.96

Ref No
20
Part Number
90540-ZV5-000
Description
SHIM, RR. BEVEL (73X77X0.30) (C)
Serial Range
1000001 - 9999999
Qty
Price
$12.96

Ref No
20
Part Number
90541-ZV5-000
Description
SHIM, RR. BEVEL (73X77X0.50) (D) (NOT AVAILABLE)
Serial Range
1000001 - 9999999
Qty
Price
$12.96

Ref No
21
Part Number
90548-ZV5-010
Description
WASHER, PLAIN (54MM)
Serial Range
1000001 - 9999999
Qty
Price
$14.30

Ref No
22
Part Number
90758-ZV5-000
Description
PIN, SPLIT (4.0)
Serial Range
1000001 - 9999999
Qty
Price
$3.10

Ref No
23
Part Number
91051-ZV5-003
Description
BEARING (32X58X17)
Serial Range
1000001 - 9999999
Qty
Price
$51.00

Ref No
24
Part Number
91053-ZV5-003
Description
BEARING, NEEDLE (22X28X20)
Serial Range
1000001 - 9999999
Qty
Price
$18.34

Ref No
25
Part Number
91252-ZV5-003
Description
SEAL, WATER (22X35X7)
Serial Range
1000001 - 9999999
Qty
Price
$11.70

Ref No
26
Part Number
91351-ZV5-003
Description
O-RING (66X5.7)
Serial Range
1000001 - 9999999
Qty
Price
$6.30

Ref No
27
Part Number
96100-60070-00
Description
BEARING, RADIAL BALL (6007)
Serial Range
1000001 - 9999999
Qty
Price
$26.90

Ref No
28
Part Number
96211-11000
Description
BALL, STEEL (#11) (11/32)
Serial Range
1000001 - 9999999
Qty
Price
$1.40

Ref No
29
Part Number
41161-ZV5-010
Description
SHAFT, PROPELLER
Serial Range
1000001 - 9999999

Ref No
30
Part Number
41201-ZV5-000
Description
HOLDER, PROPELLER SHAFT
Serial Range
1000001 - 9999999
Qty
Price
$85.16